okunma
Microsoft'un bir süredir katlanabilir bir ekran üzerinde çalıştığını biliyorduk.Ve birkaç aydır da bunun nasıl olacağına dair patent ve bilgilerin teknolojisi dolaşıyor.
Elimizde olan bilgilerden yola çıktığımızda, tablet veya akıllı telefon olması muhtemel kapalı haliyle bir kitabı andıracak şekilde göründüğü, gibi bir çok form faktörünü, menteşe vasıtasıyla birbirine bağlanabilen katlanabilir ekranlara sahip olduğu sonucuna edindiğimiz bilgiler arasında. Yeni keşfedilen modüler bilgisayar bağlantı menteşesi, bu zamana kadar nadiren tartışıldığını da göz önüne aldığımızda, şunu getiriyor; Microsoft'un projesi modüler cihaz mı?
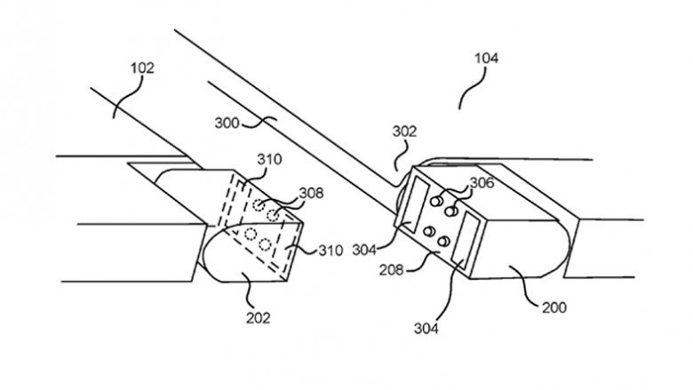
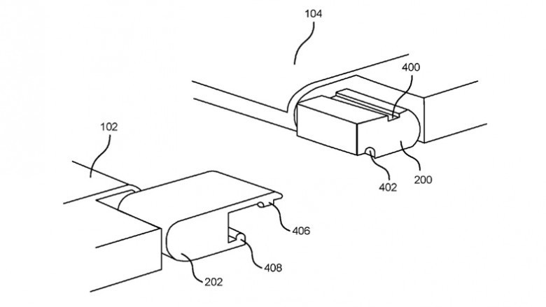
Patent, ekranların birbirinden nasıl ayrıldığını gösteriyor. Muhtemelen her bir ekran birbirinden bağımsız olarak da iş görüyor. Bu durumda ise Surface/Andromeda cihazında, Surface Pro'ya benzer şekilde laptoptan tablete dönüşümü sağlayan sökülen klavye gibi olabileceği fikrini uyandırıyor. Patentin soyut kısmı ve çizimler, sistemin algoritmasını gösteriyor.

Patent'in çizimlerine bakıldığında iki kısımdan oluşuyor ve sökülüp takılabilir menteşeler gözden kaçmıyor. Her menteşe, dışbükey şekilde parçanın döndürülmesini sağlıyor. Her bir menteşe kısmının gövde bölümü, karşıda denk geldiği yüzde bir birleşim kısmına sahip bulunuyor. Bağlantı kısmı ise en az bir bağlantı elemanı içeriyor.

Comments
0 comment